volver a
>
Ride-on Mowers
>
Trac
>
OHV 6
>
Trac OHV 6
>
steering
Lista de repuestos para Wolf Ride-on Mowers steering
pos.
descripción
Número de pieza
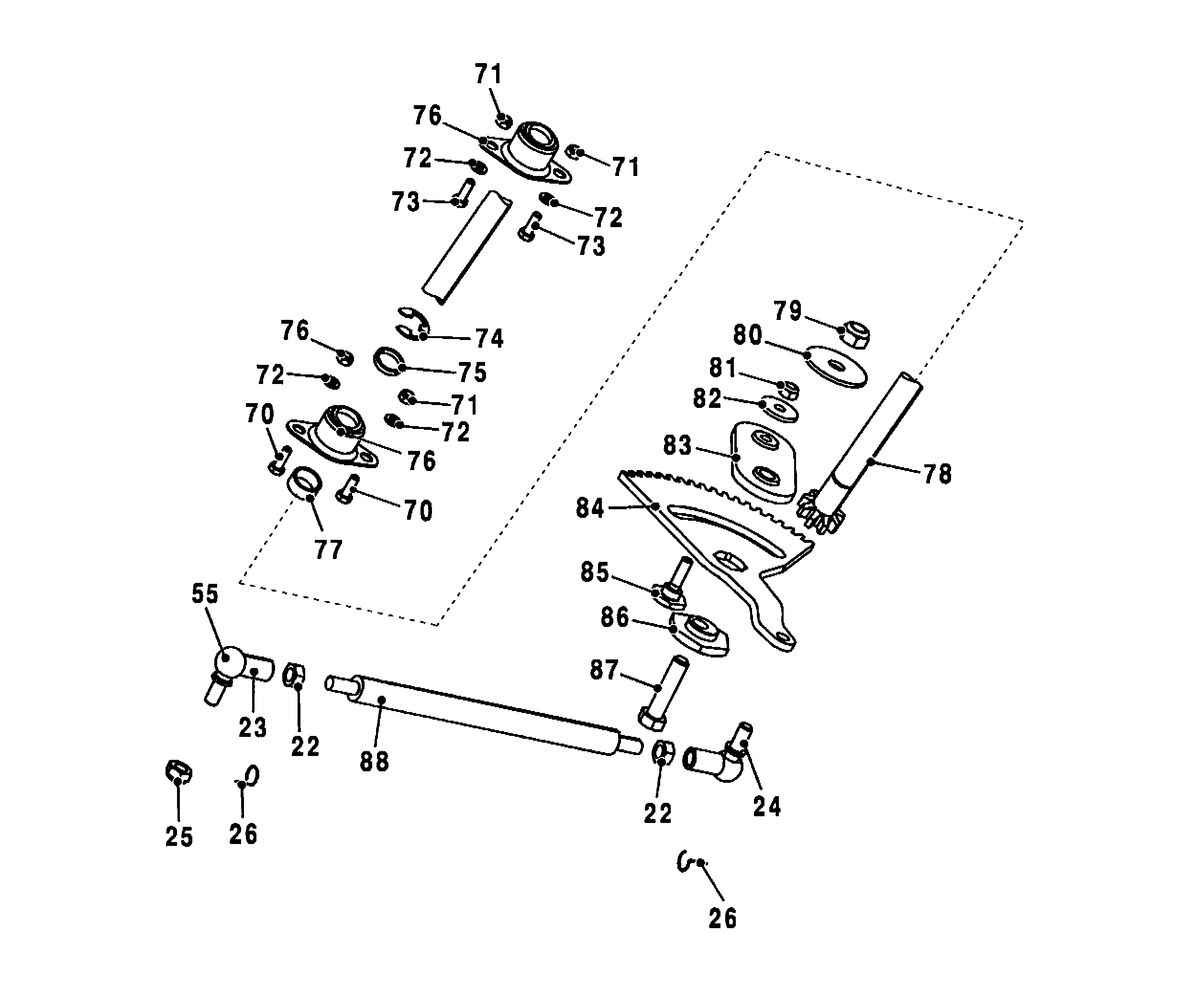
22
Hex Nut M10 Din 934 Cl.8
0016 214
23
Ball angle housihg 16 DIN 71805 B
6205 146
24
Bolt K3 000741796
6205 145
25
Nut K3 000270325
6205 134
26
Locking Stirrups 16 Din 71805 S
6205 559
55
Ball Angle Joint 16 - Complete
6205 021
70
Screw
0010 385
71
Hex. Nut
0016 312
72
Washer A 8,4 Din 125
0017 123
73
Hex Screw M8 X 20 Din 933 8.8
0010 402
74
Spring Clip 15 Din 6799
0022 415
75
Distance Ring Upper
6205 482
76
Spherical Bearing Fjb 12
6205 541
77
Distance Ring Lower
6205 481
78
Steering Shaft With Pinion Gear
6200 492
79
Self-Locking Nut M12 Din 982 Cl.8
6205 564
80
Eccentric Bolt Washer 12.4X50X3
6205 545
81
Hex. Nut
0016 312
82
Flat washer 8.4 DIN 9021 B
6205 568
83
Steering plate
6205 544
84
Gear Segment
6205 110
85
Shoulder Bolt
6205 542
86
Eccentric
6205 112
87
Hex Screw M12X45 Din 933 8.8
6205 578
88
Drag Link
6205 114
Wolf
Handtools
Hedge-shears
Secateurs
Grass-shears
Loppers
Tree Lopper
Tree care
Illumination, Ambiance
Battery-shears
Shredders
Saws
Grass-Trimmers
Reel-mowers
Spreaders / Portax
Irrigation
Scarifiers / Aerators
Mowers
Ride-on Mowers
Scooter
Cart
Trac
OHV 6
Trac OHV 6
Data Sheet
engine
front axle
steering
transmission drive
operation mower / lift
operation brake
operation change gear
cutting pan mower housing compl.
cutting pan drive system
chute collector assembly
grass collector assembly
body assembly - fender / seat
body assembly hood
wiring harness compl.
electrical switches (1)
electrical switches (2)
decals / labels
gear1
gear2
Diamond I/C OHV
Trac OHV 6
Trac OHV 6
OHV 7
Gear
Petrol engines
Optional extras
Condiciones
(C) by motoruf