volver a
>
Ride-on Mowers
>
Trac
>
OHV 6
>
Trac OHV 6
>
operation change gear
Lista de repuestos para Wolf Ride-on Mowers operation change gear
pos.
descripción
Número de pieza
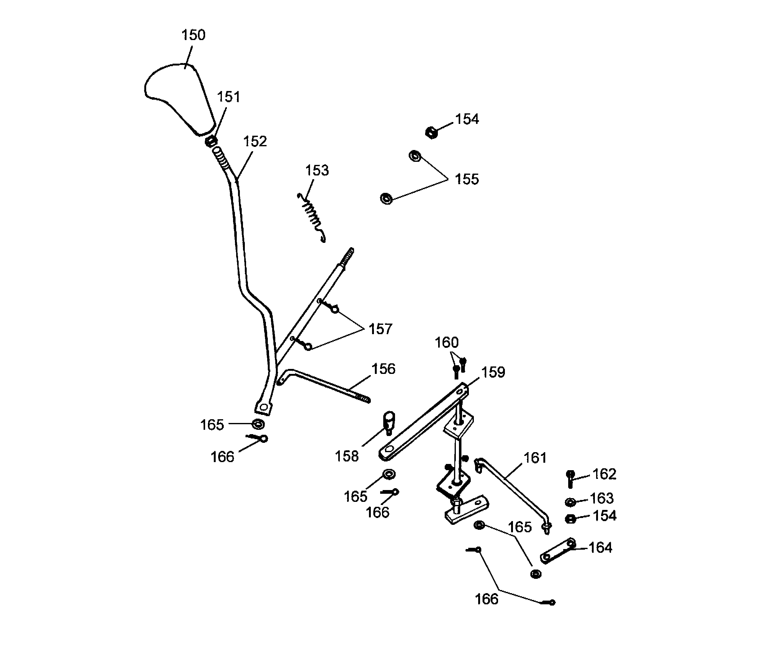
150
Gearshift Knob
6200 314
151
Nut M12 Din 439B
6200 121
152
Gear Lever
6200 113
153
Tension Spring
6200 417
154
Nut
0016 311
155
Flat Washer 6.6 Zinc
6205 567
156
Connecting Rod, Upper
6200 114
157
Clip
6205 120
158
Bolt
6200 116
159
Pivot Arm Assy.
6200 020
160
Screw
0010 400
161
Connecting Rod K3 200958697
6200 115
162
Screw 1/4"-28 Unfx7/8 Lg
6200 123
163
Washer Spring
0017 908
164
Transmission Lever
6200 122
165
Washer A 8,4 Din 125
0017 123
166
Locking Stirrups K3 200282216
6200 124
Wolf
Handtools
Hedge-shears
Secateurs
Grass-shears
Loppers
Tree Lopper
Tree care
Illumination, Ambiance
Battery-shears
Shredders
Saws
Grass-Trimmers
Reel-mowers
Spreaders / Portax
Irrigation
Scarifiers / Aerators
Mowers
Ride-on Mowers
Scooter
Cart
Trac
OHV 6
Trac OHV 6
Data Sheet
engine
front axle
steering
transmission drive
operation mower / lift
operation brake
operation change gear
cutting pan mower housing compl.
cutting pan drive system
chute collector assembly
grass collector assembly
body assembly - fender / seat
body assembly hood
wiring harness compl.
electrical switches (1)
electrical switches (2)
decals / labels
gear1
gear2
Diamond I/C OHV
Trac OHV 6
Trac OHV 6
OHV 7
Gear
Petrol engines
Optional extras
Condiciones
(C) by motoruf