volver a
>
Ride-on Mowers
>
Trac
>
OHV 7
>
Trac OHV 7
>
operation mower / lift
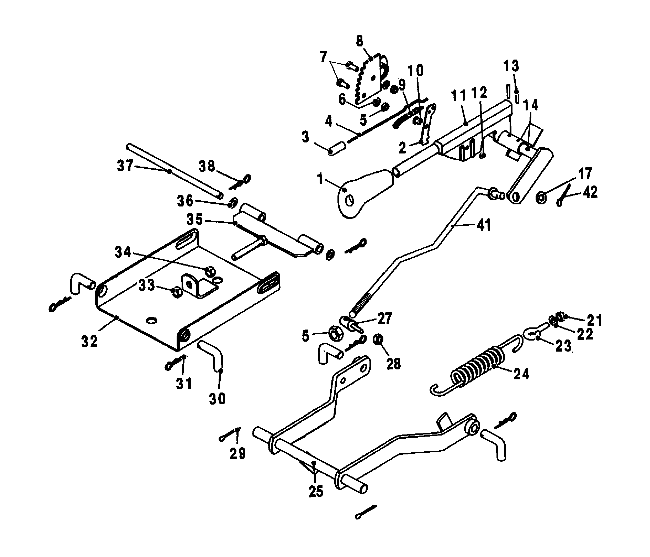
Lista de repuestos para Wolf Ride-on Mowers operation mower / lift
pos.
descripción
Número de pieza
1
Handle Black
6205 320
2
Ratchet Pivot Plate
6205 103
3
Plunger Button - Black
6205 305
4
Connection Rod
6205 111
5
Hex. Nut
0016 312
7
Hex Screw M8 X 20 Din 933 8.8
0010 402
8
Gear Segment
6205 488
9
Tension Spring
6205 415
10
Arm Lever Pin
6205 480
11
Height Adjustment Arm Lever
6205 458
12
Clip For Pin 6 Din 6799
6205 585
13
Spring Pin 5X30 Din 1481
6205 571
14
Height Adjuster Shaft
6205 495
17
Washer A 8,4 Din 125
0017 123
21
Self-Locking Nut M10-Din 985 Cl.8
0016 316
22
Washer 10,5-Din 125A
0017 124
23
Screw
6205 455
24
Tension Spring
6205 419
25
Pivot Arm Assy.
6205 020
27
Bolt
6205 118
28
Self-Locking Nut M10-Din 985 Cl.8
0016 316
29
Cotter Pin 5X50 Din 94
6205 560
30
Bolt
6205 459
31
Clip
6205 107
32
Front Suspension Mower Deck
6205 324
33
Self-Locking Nut M12 Din 982 Cl.8
6205 564
34
Hex Nut M12 Din 934 Cl.8
6205 557
35
Front Holder
6205 456
36
Cog Pulley 28
0017 125
37
Bolt
6205 109
38
Clip
6205 120
41
Rod K3 200958673
6205 521
42
Cotter Pin 2X18 Din 94
6205 563
Wolf
Handtools
Hedge-shears
Secateurs
Grass-shears
Loppers
Tree Lopper
Tree care
Illumination, Ambiance
Battery-shears
Shredders
Saws
Grass-Trimmers
Reel-mowers
Spreaders / Portax
Irrigation
Scarifiers / Aerators
Mowers
Ride-on Mowers
Scooter
Cart
Trac
OHV 6
OHV 7
Trac OHV 7
Data Sheet
engine
front axle
steering
transmission drive
operation mower / lift
operation brake
operation transmission drive
cutting pan mower housing compl.
cutting pan drive system
chute - collector drive
grass collector assembly
body assembly - fender / seat
body assembly hood
wiring harness compl.
electrical switches (1)
electrical switches (2)
decals / labels
Intek OHV
Trac OHV 7
Trac OHV 7
Gear
Petrol engines
Optional extras
Condiciones
(C) by motoruf