volver a
>
Ride-on Mowers
>
Scooter
>
SV
>
Scooter SV 4
>
clutch, blade SV4
Lista de repuestos para Wolf Ride-on Mowers clutch, blade SV4
pos.
descripción
Número de pieza
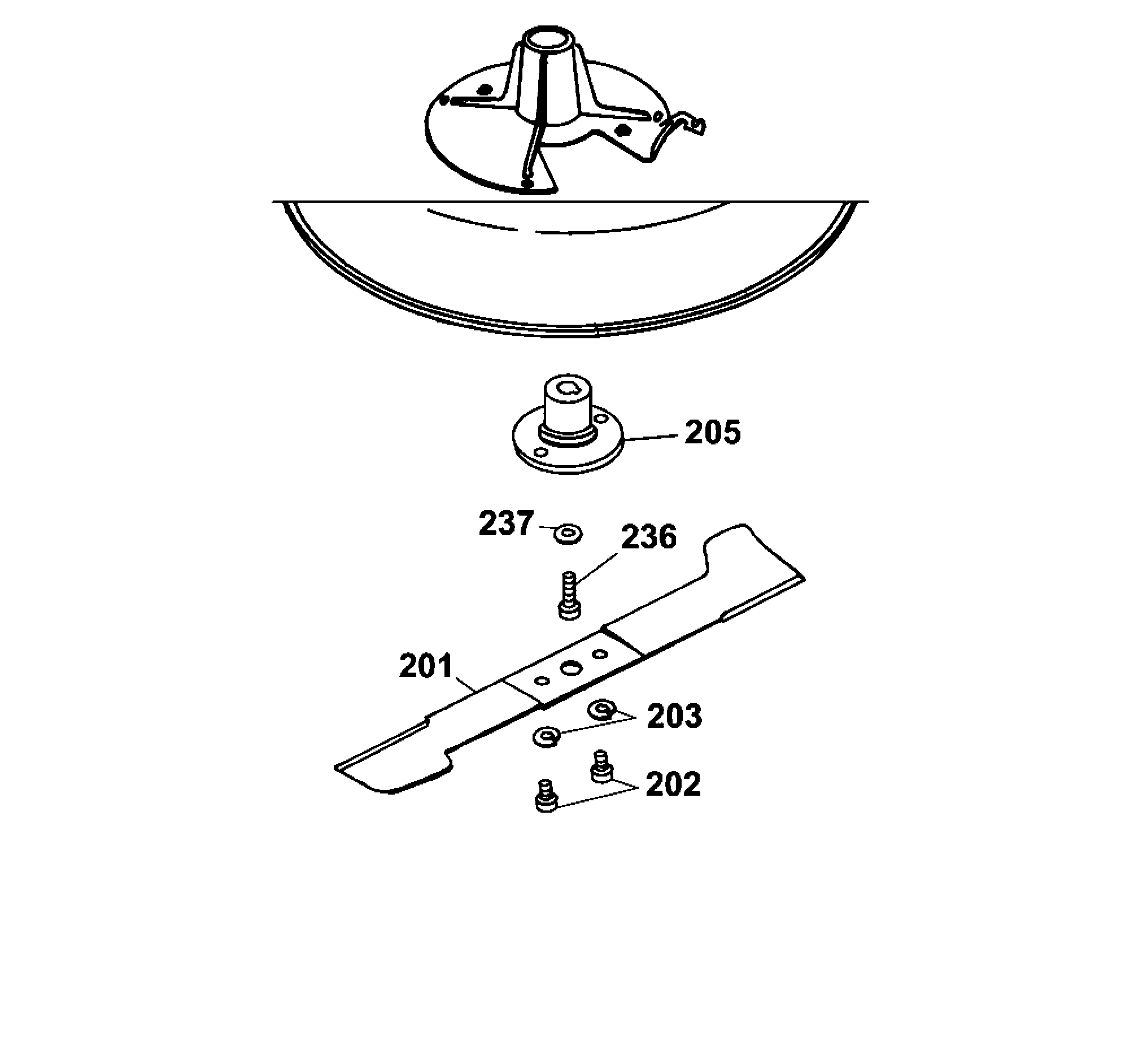
201
Blade
6155 400
202
Screw M10X16 Din 6912
0011 423
203
Washer spring
0017 911
205
Blade Flange I4 03300300
6155 174
236
Screw M10X30 Din 912
0011 317
237
Washer
6155 175
Wolf
Handtools
Hedge-shears
Secateurs
Grass-shears
Loppers
Tree Lopper
Tree care
Illumination, Ambiance
Battery-shears
Shredders
Saws
Grass-Trimmers
Reel-mowers
Spreaders / Portax
Irrigation
Scarifiers / Aerators
Mowers
Ride-on Mowers
Scooter
SV
Scooter SV 4
Scooter SV 4
Scooter SV 4
Scooter SV 4
Scooter SV 4
Data Sheet
upper frame, steering mechanism
lower frame, height-adjustment
drive, running gear
blade drive
clutch, blade SV4
cutter bar
front panel, covers
rear panel, seat
grass collector, rear flap
cable form SV
VLV 60
Scooter SV 4
Scooter SV 4
OHV
Moto Verte
Gear
Cart
Trac
Petrol engines
Optional extras
Condiciones
(C) by motoruf