volver a
>
Hedge-shears
>
Hand
>
HS
>
HS-TA
>
Telescopic Hedge - shears HS - TA 7436 000
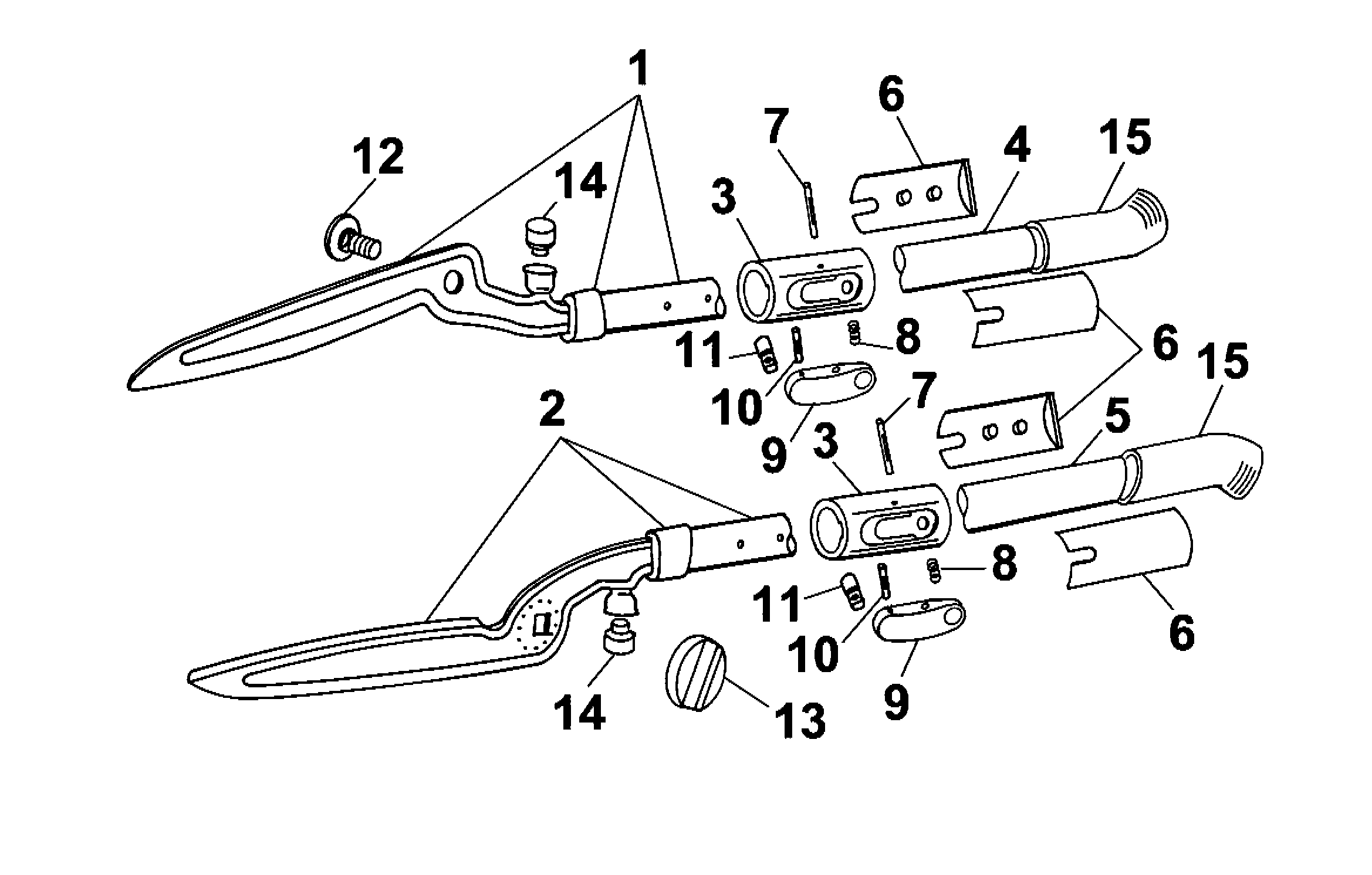
Lista de repuestos para Wolf Hedge-shears Telescopic Hedge - shears HS - TA 7436 000
pos.
descripción
Número de pieza
1
lower blade with inner pipe
7436 011
2
Upper Blade With Compl. Inner Pipe
7436 012
3
Snap-In Locking Device
7278 103
4
Pipe 306 Mm, Coated
7436 101
5
Pipe
7436 102
6
Cover
7278 201
7
Grooved Pin
0018 008
8
Compression Spring
7278 202
9
Rocker
7278 104
10
Grooved Pin
0018 635
11
Bolt
7278 200
***
Rocker With Bolt
7278 011
12
Threaded Bolt
7425 201
13
Turning Knob
7428 012
14
Rubber Buffer
7421 206
15
Grip
7278 102
Wolf
Handtools
Hedge-shears
Hand
RP
HS
HS-A
HS-TA
Telescopic Hedge - shears HS - TA 7436 000
HS-L
Electro
Secateurs
Grass-shears
Loppers
Tree Lopper
Tree care
Illumination, Ambiance
Battery-shears
Shredders
Saws
Grass-Trimmers
Reel-mowers
Spreaders / Portax
Irrigation
Scarifiers / Aerators
Mowers
Ride-on Mowers
Petrol engines
Optional extras
Condiciones
(C) by motoruf