volver a
>
Battery-shears
>
Accu
>
Accu 45
>
Rotating head, Blade, Motor
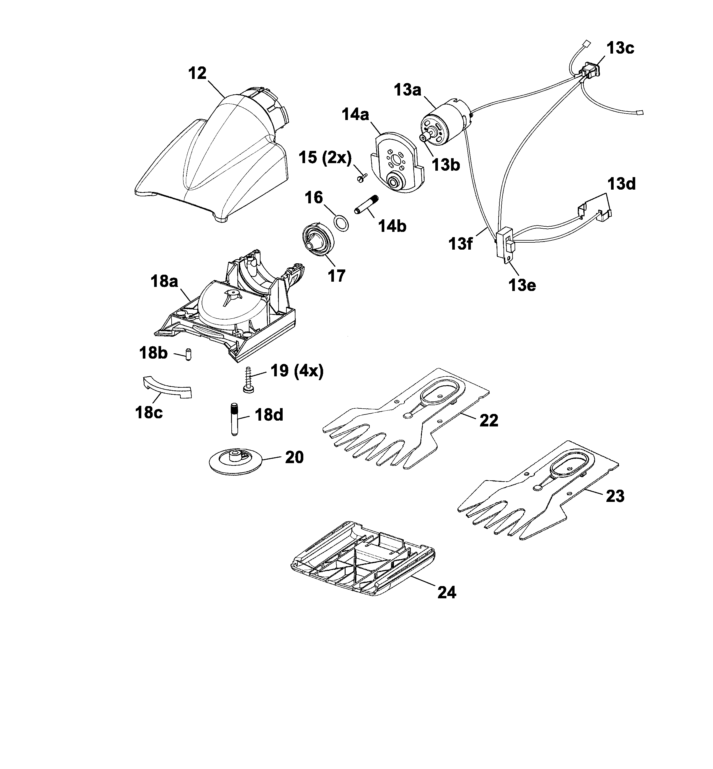
Lista de repuestos para Wolf Battery-shears Rotating head, Blade, Motor
pos.
descripción
Número de pieza
12
cover
7086 330
***
Motor
7084 026
***
Motor Support Compl.
7086 910
15
Cheese Head Screw
0012 229
16
Washer 10 Dia.+16 Dia.+0,3
0017 042
17
Driven Gear I4 P00038119
7086 313
18c
Sealing Lip
7086 318
***
Gearbox Casing
7086 911
19
Screw
0012 625
20
Plate
7086 312
22
Replac. Blade Accu 10 Em
7085 095
23
Replac. Blade Accu 8 Em
7084 095
24
Blade Cover
7086 311
***
Battery Charger (6.42Bai)
7086 076
***
Instruction Manual
0054 444
Wolf
Handtools
Hedge-shears
Secateurs
Grass-shears
Loppers
Tree Lopper
Tree care
Illumination, Ambiance
Battery-shears
Accu
Accu 45
Accu 60
Accu 75
Accu BS 60
Accu BS 45
Accu 45
Accu 45 Classic
Accu 60
Accu 60 Comfort
Accu 75
Accu 75 Professional
Accu BS 60
Accu BS 60 Comfort
Accu BS 60
Accu BS 45
Accu 40 Standard
Accu 30
Accu 40
Accu BS 45
Accu BS 50
Accu 45
Data Sheet
Case, Switch, Wheels
Rotating head, Blade, Motor
AC-TS Vario Handle
Accu 45 Classic
Accu 45
Accu 60
Accu 60 Comfort
Accu 75
Accu 75 Professional
Accu BS 60
Accu BS 60 Comfort
Accu BS 60
Accu BS 60 Comfort
Accu BS 60
Accu 60
Accu 60
Accu 60
Accu 80
Accu 80
Accu 100
Accu 100
Accu BS 80
SP / SB
Shredders
Saws
Grass-Trimmers
Reel-mowers
Spreaders / Portax
Irrigation
Scarifiers / Aerators
Mowers
Ride-on Mowers
Petrol engines
Optional extras
Condiciones
(C) by motoruf