volver a
>
Mowers
>
Petrol
>
Drive from 43 cm on
>
Others
>
B 46 TBA
>
Motor, Blade
Lista de repuestos para Wolf Mowers Motor, Blade
pos.
descripción
Número de pieza
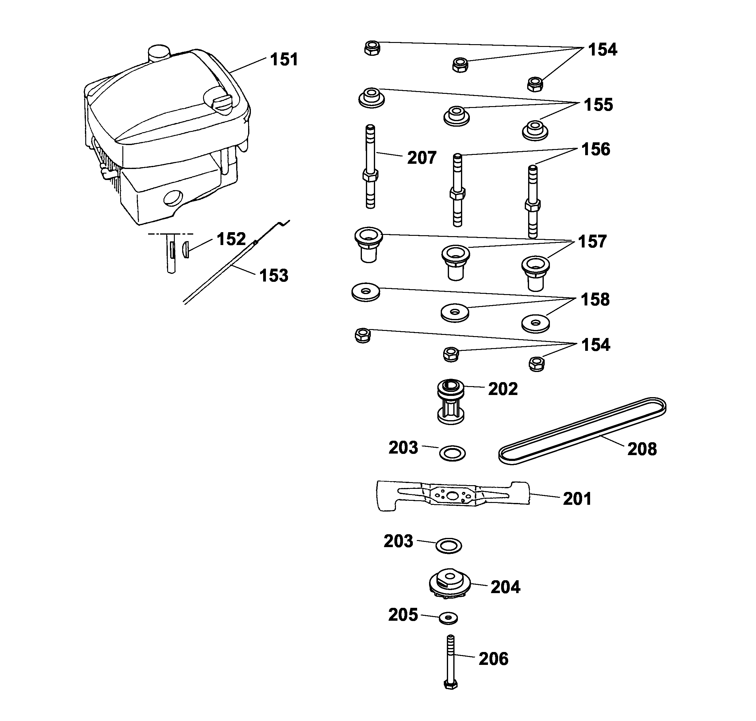
151
Motor Compl.
2076 050
152
Key
0029 130
153
Bowden Wire Brake
4005 058
154
Hex. Nut
0016 312
155
Motor Bush
4001 172
156
Stud Bolt, Short
4001 170
157
Spacer
4601 312
158
Washer
0017 111
201
Blade
4601 095
202
Coupling
4605 402
203
Clutch Facing
4005 403
204
Coupling Disk
4840 402
205
Friction Washer
0017 105
206
Screw
0010 264
207
Stud Bolt, Big
4001 171
208
V-Belt
0039 218
Wolf
Handtools
Hedge-shears
Secateurs
Grass-shears
Loppers
Tree Lopper
Tree care
Illumination, Ambiance
Battery-shears
Shredders
Saws
Grass-Trimmers
Reel-mowers
Spreaders / Portax
Irrigation
Scarifiers / Aerators
Mowers
Accu
Petrol
Without drive up to 42 cm
Without drive from 43 cm on
Drive up to 42 cm
Drive from 43 cm on
series 2
series 4
series 6
Moto-Verte
Concept
Premio
Power Edition
Esprit
Others
Exclusiv 46 BA
47 Mulch BA
B 46 TBA
WGI 46 BA
B 46 TBA
Data Sheet
Chassis
Axle, Wheels, Height-adjustment
Handlebar compl.
Motor, Blade
Grass collector Esprit
55 XTE
HBM 46 BA
HBM 46 BA
B 46 TBA
B 46 TBA
B 46 TBA
B 46 TBA
Electric start / Touch 'n Mow
Electro
Ride-on Mowers
Petrol engines
Optional extras
Condiciones
(C) by motoruf