volver a
>
Mowers
>
Petrol
>
Drive from 43 cm on
>
series 2
>
2.48 BA, Good-Line
>
Motor, Blade
Lista de repuestos para Wolf Mowers Motor, Blade
pos.
descripción
Número de pieza
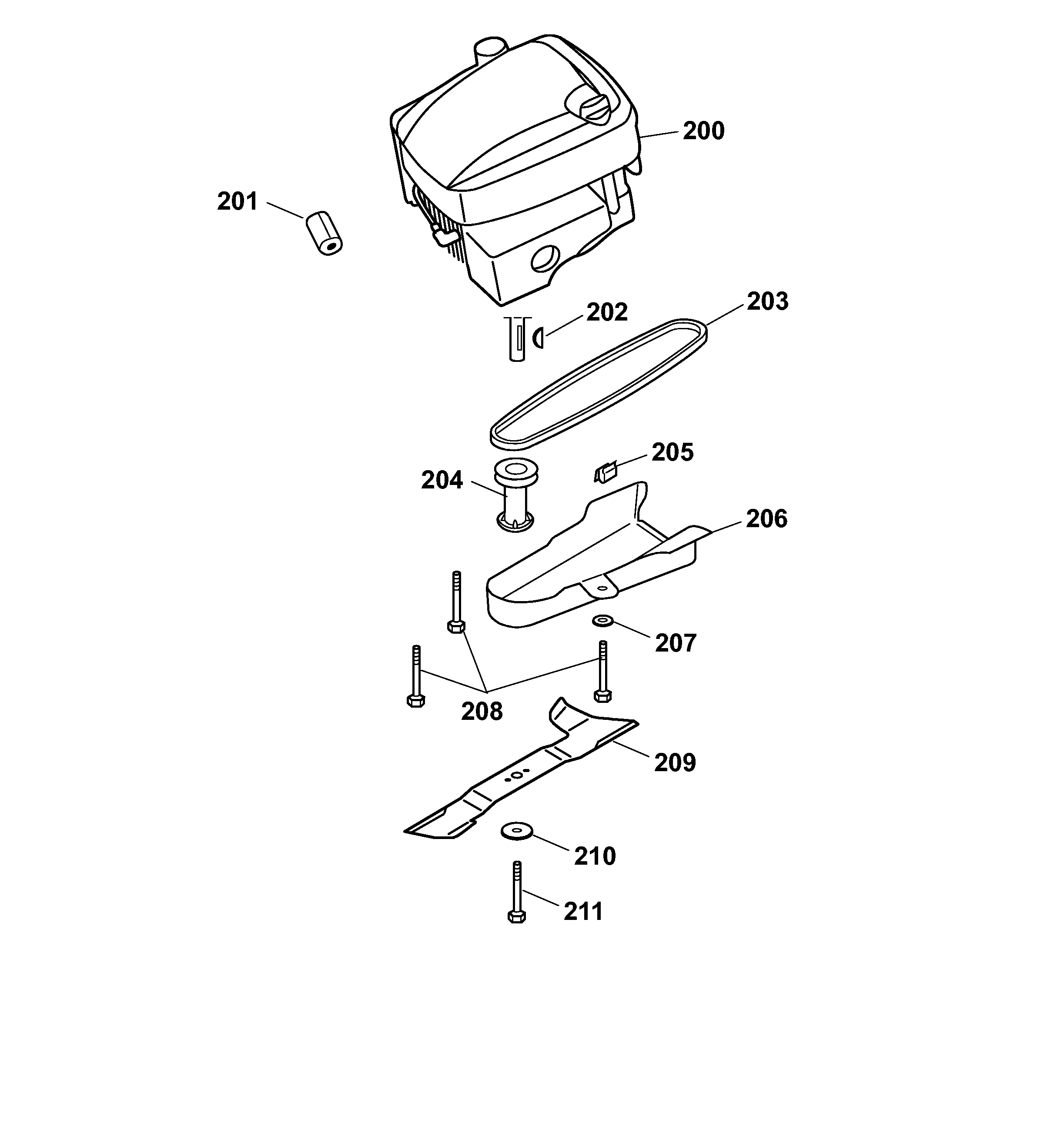
200
Motor
2079 070
201
Ferrite
4933 105
202
Key
0029 130
203
Drive Belt 42Cm
0039 225
204
Cutter Bar Flange
4218 405
205
Clamp
4218 330
206
Toothed Belt Cover
4218 316
207
Washer
0017 292
208
Srew 3/8"
0010 273
209
Cutter Bar Vi 48 S
4218 094
210
Belleville Spring Washer
0017 106
211
Srew 3/8"
0010 275
Wolf
Handtools
Hedge-shears
Secateurs
Grass-shears
Loppers
Tree Lopper
Tree care
Illumination, Ambiance
Battery-shears
Shredders
Saws
Grass-Trimmers
Reel-mowers
Spreaders / Portax
Irrigation
Scarifiers / Aerators
Mowers
Accu
Petrol
Without drive up to 42 cm
Without drive from 43 cm on
Drive up to 42 cm
Drive from 43 cm on
series 2
2.46 HA
2.53 BA, Good-Line
2.48 BA, Good-Line
Data Sheet
Chassis
Axle, Wheels, Height-adjustment
Handlebar compl.
Motor, Blade
Grass collector Good-Line 48 + 53
Sprint 40 Fixspeed
2.48 XC, Good-Line
2.46 HA
series 4
series 6
Moto-Verte
Concept
Premio
Power Edition
Esprit
Others
Electric start / Touch 'n Mow
Electro
Ride-on Mowers
Petrol engines
Optional extras
Condiciones
(C) by motoruf