volver a
>
Petrol engines
>
Briggs & Stratton
>
Quattro
>
Quattro 40 S
>
Flywheel, Electrical, Brake
Lista de repuestos para Wolf Petrol engines Flywheel, Electrical, Brake
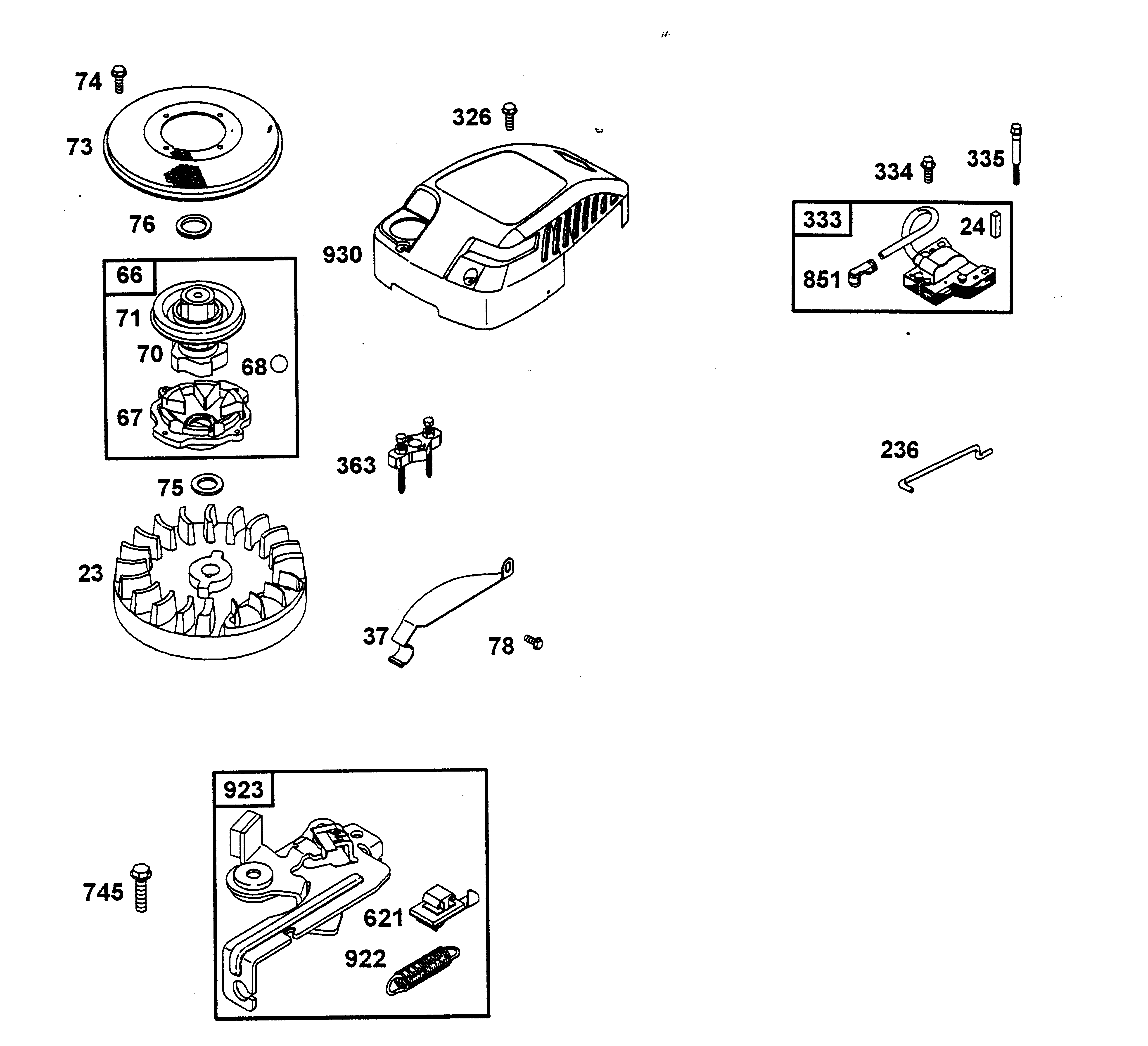
pos.
descripción
Número de pieza
23
Flywheel
2056 184
24
Flywheel Pin
2057 130
37
Guard-Flywheel
2056 178
66
Clutch-Starter
2060 601
67
Case
2007 602
68
Ball
1034 609
70
Ratchet-Clutch
2056 179
71
Cover
2060 602
73
Screen-Rotating
1034 613
74
Screw
2057 102
75
Washer
2056 180
76
Washer
1034 616
78
Screw
2063 314
236
Rod
2059 312
326
Screw
2056 181
333
Armature-Magneto
2003 051
334
Screw Magneto Armature
1034 309
363
Puller-Flywheel
2062 057
621
Switch-Stop
2063 131
745
Screw
2056 140
851
Terminal - Spark Plug
2057 179
922
Spring
2056 141
930
Guard Rewind
2056 182
923
Brake
2056 142
Wolf
Handtools
Hedge-shears
Secateurs
Grass-shears
Loppers
Tree Lopper
Tree care
Illumination, Ambiance
Battery-shears
Shredders
Saws
Grass-Trimmers
Reel-mowers
Spreaders / Portax
Irrigation
Scarifiers / Aerators
Mowers
Ride-on Mowers
Petrol engines
Tecumseh
Briggs & Stratton
Quattro
Quattro 40
Motor B&S Quattro 40 KAT
Quattro 40 S
Cylinder assembly
Piston, Connecting rod, Valves
Crankshaft, Sump bases
Carburetor
Controls electrical
Flywheel, Electrical, Brake
Fuel tank
Air cleaner, Muffler
Blower housing
Gasket set
Quattro 40
Quattro 40
Quattro 40
Quantum
Diamond
Intek
Sprint
Classic
Honda
Kawasaki
Optional extras
Condiciones
(C) by motoruf