volver a
>
Petrol engines
>
Briggs & Stratton
>
Sprint
>
Sprint 40
>
Crankshaft, Sump bases
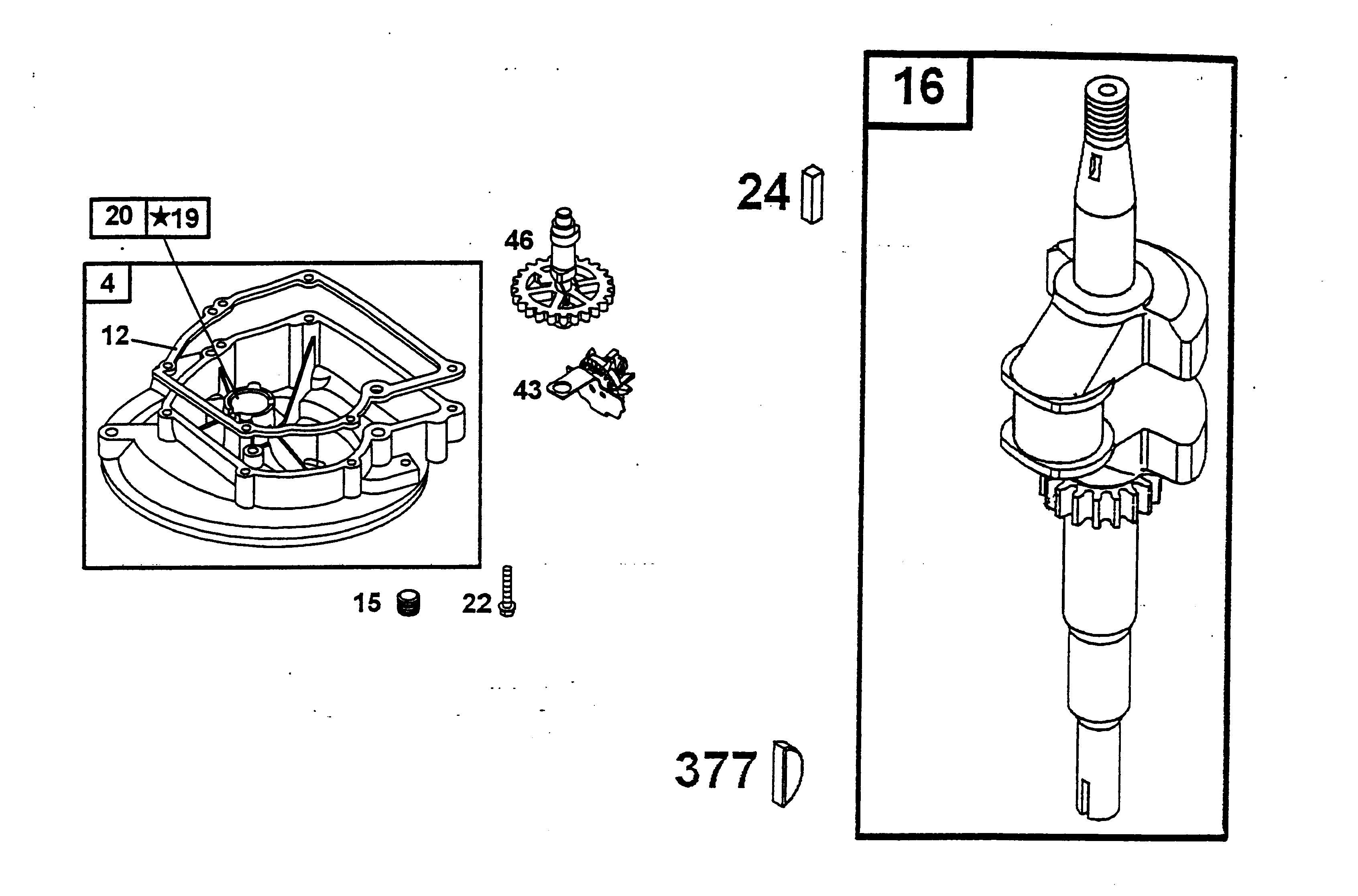
Lista de repuestos para Wolf Petrol engines Crankshaft, Sump bases
pos.
descripción
Número de pieza
4
Sump Base
2056 133
12
Seal
1007 201
15
Plug-Oil Drain
2058 204
16
Crankshaft
2056 190
19
Bush
1034 205
20
Seal-Oil
2056 304
22
Screw
2056 134
24
Flywheel Pin
2057 130
43
Regulator
2056 135
46
Camshaft
2056 136
377
Key
0029 055
Wolf
Handtools
Hedge-shears
Secateurs
Grass-shears
Loppers
Tree Lopper
Tree care
Illumination, Ambiance
Battery-shears
Shredders
Saws
Grass-Trimmers
Reel-mowers
Spreaders / Portax
Irrigation
Scarifiers / Aerators
Mowers
Ride-on Mowers
Petrol engines
Tecumseh
Briggs & Stratton
Quattro
Quantum
Diamond
Intek
Sprint
Sprint 375
Sprint 40
Cylinder assembly
Piston, Connecting rod, Valves
Crankshaft, Sump bases
Carburetor (Primer system)
Control
Flywheel, Electrical, Brake
Air cleaner, Muffler
Covers, Blower housing
Gasket set
Sprint 375
Sprint 40
Sprint 40 Fixspeed
Classic
Honda
Kawasaki
Optional extras
Condiciones
(C) by motoruf